- Part Number:1926
- Part Number Title:Safety and Health Regulations for Construction
- Subpart:1926 Subpart R
- Subpart Title:Steel Erection
- Standard Number:
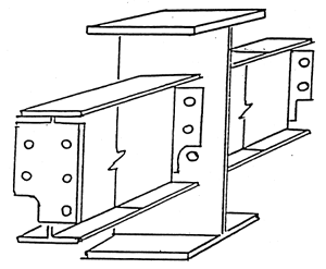
- Title:Double Connections: Illustration of a Clipped End Connection and a Staggered Connection: Non-Mandatory Guidelines for Complying With § 1926.756(c)(1).
- GPO Source:
Appendix H to Subpart R -- Double Connections: Illustration of a Clipped End Connection and a Staggered Connection: Non-Mandatory Guidelines for Complying with §1926.756(c)(1).

Clipped end connections are connection material on the end of a structural member which has a notch at the bottom and/or top to allow the bolt(s) of the first member placed on the opposite side of the central member to remain in place. The notch(es) fits around the nut or bolt head of the opposing member to allow the second member to be bolted up without removing the bolt(s) holding the first member.

Staggered connections are connection material on a structural member in which all of the bolt holes in the common member web are not shared by the two incoming members in the final connection. The extra hole in the column web allows the erector to maintain at least a one bolt connection at all times while making the double connection.
[66 FR 5279, Jan. 18, 2001]